Expert Patent Illustration Services
Accurate, Patent-Office-Compliant Drawings for Inventors and Law Firms.
High-quality patent drawings with quick turnaround time and affordable pricing.
Over the years, by offering quick, economic, and accurate patent illustration services to patent law firms, practitioners, and corporations, we have established a name for clients to rely on whenever they need patent figures.
No matter how complex the patent drawings are, our draftsmen are well equipped to handle them with 100% compliance to patent office rules and guidelines while using the latest software and technologies.




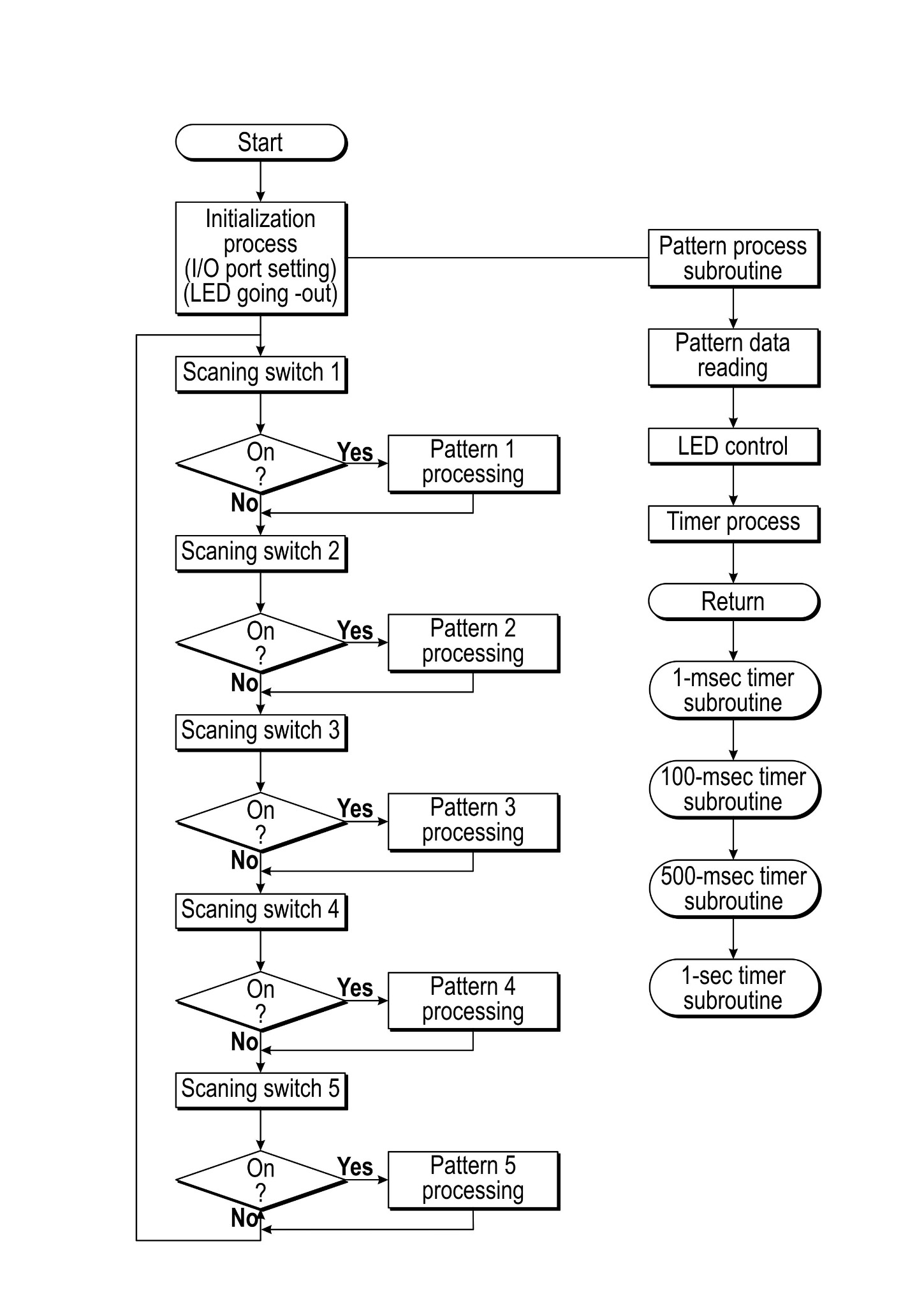
Examples of patent illustrations prepared by Pitstop Drawings.















Affordable pricing presented in the same straightforward style as the brochure.
Below is a general breakdown of drawing prices that vary based on complexity. Final project pricing can always be confirmed directly with you.
Confidentiality and Integrity are our Core Values
Confidentiality and Integrity are our Core Values and we understand the importance of data confidentiality and security. With these objectives we have integrated multiple strategies and world class infrastructure to ensure complete security and compliance. A snapshot of the data security measures has been provided below, for details regarding those please feel free to contact us.
SYSTEM LEVEL SECURITY
Password protected logins allow access to designated users only and access to the data of other teams on the server is restricted
- Restricted & Monitored Access
- Disabled Ports for Removable Media
- Biometric access system for controlled and monitored access
LEGAL LEVEL SECURITY
We represent and warrant that the terms of the Non-disclosure and confidentiality agreement shall extend and apply to the services provided to the client. We will ensure that the team(s) shall at all times comply with all policies and codes of conduct imposed by the client through
- Non-disclosure Agreements
- Confidentiality Agreements
- Regular sessions for all employees on data security sensitization
COMMUNICATION LEVEL SECURITY
Use of encryption tools such as PGP, GPG, etc., for all deliverables and communication
- Encrypted Mails
- No access to web-based mail
- Data upload websites like blogs and web data servers are blocked
DATA DESTRUCTION POLICY
- A dedicated group is allocated the task of physical shredding printed documents and deleting digital data on a periodic basis
- Shredding of Printed documents
- Digital deletion certificate issued to clients after project completion
- Willingness to work through client dedicated servers
"The patent system adds the fuel of interest to the fire of genius in the discovery and production of new and useful things."
- Abraham Lincoln
4704 McCoy Avenue, San Jose, CA 95130